| 添加时间: | 2024-05-07 14:35:48 |
|---|
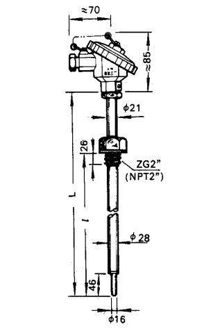
WRNR2-12烟道风道热电偶
介绍
电站测温用热电偶,热电阻
随着我国电力工业的不断发展,急需各种适用于电站的热电偶,以代替进口。本厂先后引进了专业制造技术和设备,并在原有产品基础上,对产品进行重新设计,增加了新的品种,使整个配套系列的品种、规格******符合国产或引进的30万、60万千瓦发电机组以及国内其它机组配套需要,并以优异的质量来满足市场,应符合JB/T9238-1999及JB/T8622-1997标准。
量程规格
类别 | 代号 | 分度号 | 测温范围℃ | 精度等级 | 允许偏差△t |
镍铬-镍硅 | WRNT | K | 0~800 | Ⅰ | ±1.5℃或±0.004│t│ |
Ⅱ | ±2.5℃或±0.75│t│ | ||||
镍铬-铜镍 | WRET | E | 0~600 | Ⅰ | ±1.5℃或±0.004│t│ |
Ⅱ | ±2.5℃或±0.75│t│ | ||||
铜-铜镍 | WRCT | T | -40~350 | Ⅰ | ±0.5℃或±0.004│t│ |
Ⅱ | ±1℃或±0.75% t | ||||
铂电阻 | WZPT | PT100 | -200~500 | A级 | ±0.15℃+0.002│t│ |
B级 | ±0.30℃+0.005│t│ | ||||
铜电阻 | WZCT | Cu50 | -50~100 | Ⅱ | ±0.30℃+6.0*0.001│t│ |
注:“t”为感温元件实测温度,
公称压力
一般是指在常温下,保护管所能承受的静态外压而不破裂,试验压力一采用公称压力的1.5倍。实际上,允许工作压力不仅与保护管材料、直径、壁厚有关,而且还与其结构形式、安装方法、置入深度以及被测介质的流速、种类有关。
热电偶绝缘电阻:
常温绝缘电阻的试验电压为直流500V。测量常温绝缘电阻的大气条件为:温度15~35℃,相对温度45%,大气压力86~106kpa。
对于长度超过1米的热电偶,它的常温绝缘电阻值与其长度的乘积应不小于100MΩ·m
即:Rr·L〉>100MΩ L>1m
式中:Rr-热电偶的常温绝缘电阻值,MΩ;
L-热电偶的长度,m
对于长度等于或不足1米的热电偶,它的常温绝缘电阻值应不小于100MΩ。
热套式电偶
热套式电偶主要用于测量蒸汽管道及锅炉温度。
热电偶采用热套保护管与电偶可分离分工,使用时,用户可将热套焊接或机械固定在设备上,然后装上电偶就可工作,它的优点是提高了保护管的工作压力和使用寿命,又便于电偶的维修或更换,目前这种结构形式被国外广泛采用。
本厂生产的热套保护管采用引进设备和深盲孔技术加工而成,端部不用焊接,提高了热套保护管的强度和使用寿命。
热套式热电偶产品有五种不同结构和安装方式,用户可根据不同的温度,压力及蒸汽流速来选用。
烟道、风道热电偶
用途:使用在烟道及风道上测温
名称 | 型号 | 分度号 | 测温范围 | 公称压力 | 保护管材料 | L×1 | |
单支热电偶 | WRNR-12 | K | 0~800℃ | ≤9.8MPa | 1Cr18Ni9Ti 不锈钢 | 480×230 680×430 880×630 1380×1130 | |
WRER-12 | E | 0~600℃ | |||||
双支热电偶 | WRNR2-12 | K | 0~800℃ | ||||
WRER2-12 | E | 0~600℃ |
注:BASCO规范



