
产品简介
YE-75膜盒压力表(上海自动化仪表四厂)适用于测量对铜合金不起腐蚀作用,无爆炸危险的微压和负压。气体广泛应用于锅炉通风和气体管道等设备上,本仪表可以就地安装并现场指示。
主要技术指标
◆标度范围、准确度等级及重量
型号 | 标度范围kPa | 准确度等级基本误差限±% | 重量kg | ||
正压 | 负压 | 正负压 | |||
YE-75 YE-100 YE-150 | 0-1.6 | -1.6-0 | -0.8-0.8 | 2.5 | 0.5 |
0-2.5 | -2.5-0 | -1.2-1.2 | |||
0-4 | -4-0 | -2-2 | |||
0-6* | -6-0 | -3-3 | |||
0-10* | -10-0 | -5-5 | |||
0-16* | -16-0 | -8-8 | |||
0-25* | -25-0 | -12-12 | |||
0-40* | -40-0 | -20-20 | |||
注:YE-75、100仅生产*规格
◆工作位置、环境:仪表垂直安装,工作环境温度-25-55℃,相对湿度不大于80%,并且周围空气中不含有腐蚀仪表的有害气体。
◆温度影响:使用温度偏离20±5℃时,其温度附加误差不大于0.4%/10℃
◆导(测)压系统及外壳等主要零件的材质
零件名称 | 材料牌号 |
接头 | 黄铜HPb59-1 |
膜盒 | 锡青铜QSn6.5-0.1 |
齿轮传动机构 | 铜HPb59-1 |
表壳、罩壳 | 冷轧铜板20 |
结构原理
◆仪表由测量系统(包括接头,波纹膜盒等),传动机构(包括拔杆机构,齿轮传动机构),指示部件(包括指针与度盘)和外壳(包括表壳、衬圈和表玻璃)所组成。
◆仪表的工作原理是基于波纹膜盒在被测介质的压力作用下,其自由端产生相应的弹性变形,再经过拔杆一齿轮传动机构的传动并予放大,由固定于齿轮轴上的指针逐将被测值在度盘上指示出来。
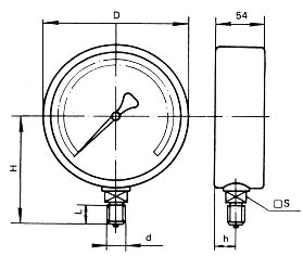
外形尺寸 单位(mm)

型号 | D | H1 | L | d | h | □S |
YE-75 | ¢77 | 71 | 14 | M16×1.5 | 14 | □17 |
YE-100 | ¢100 | 90 | 20 | M20×1.5 | 17 | □22 |
YE-150 | ¢150 | 118 | 20 | M20×1.5 | 17 | □22 |

