LKB-01靶式流量控制器(上海远东仪表厂)产品概述 LKB—01靶式流量控制器采用传感器。可用于水冷却系统或其他流体回路。控制器的设定值可调。主要技术性能 环境温度:5~40℃ 安装位置:外壳上箭
| 添加时间: | 2025-06-03 06:56:19 |
|---|
| 添加时间: | 2025-06-03 06:56:19 |
|---|
LKB-01靶式流量控制器(上海远东仪表厂)

产品概述
LKB—01靶式流量控制器采用传感器。可用于水冷却系统或其他流体回路。控制器的设定值可调。
主要技术性能
环境温度:5~40℃
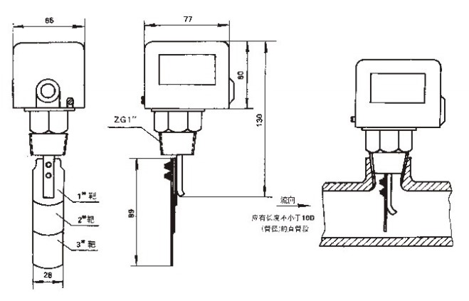
安装位置:外壳上箭头与水流方向一致,控制器前需要有10D(管径)长度的导向直管道。
安装管道P:1-6"
耐压: 1.6 MPa
触点容量:AC 250V 3A (阻性)
转换触点1付(有常开和常闭)
介质温度范围:5~80℃
产品规格 单位/分
管道与靶号配用 | 流量调节范围 | 切换差 | 重复性误差 | |
1" | 1# | 20……48 | 8 | 1.1 |
11/4" | 1# | 34……100 | 10 | 2.6 |
11/2" | 1# | 65……160 | 14 | 3.8 |
2" | 1# | 120……280 | 26 | 6.4 |
﹡21/2" | 1# | 40……140 | 18 | |
3" | 1# | 210……550 | 20 | |
2" | 2# | 110……340 | 18 | 4.0 |
﹡21/2" | 2# | 380……750 | 15 | |
﹡3" | 2# | 180……470 | 18 | |
﹡4" | 2# | 115……220 | 20 | |
﹡3" | 3# | 350……920 | 20 | |
﹡4" | 3# | 210……590 | 20 | |
﹡5" | 3# | 380……1200 | 40 | |
﹡6" | 3# | 550……1800 | 80 | |
注1“﹡”号数据为参考数据
2流量调节范围:指下切换值调节范围,即流量减少时引起开关触点切换的设定值调节范围。
3 4#,5#靶可以用于更大直径的管道。
外形及安装尺寸

流量控制器附件
1#~5#靶片各一片,M3×8螺钉2只,¢3垫圈2只,¢3弹簧垫圈2只。