WZP-280铂热电阻-(上海自动化仪表三厂)◆固定螺纹式热电阻热电阻类别产品型号分度号测量范围℃保护管材料规格热响应时间T0.5S总长Lmm置深lmm单支铂热电阻WZP-269Pt100-200~
| 添加时间: | 2025-06-18 13:10:23 |
|---|
| 添加时间: | 2025-06-18 13:10:23 |
|---|
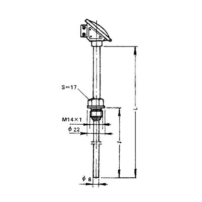
WZP-280铂热电阻-(上海自动化仪表三厂)

◆固定螺纹式热电阻
热电阻类别 | 产品型号 | 分度号 | 测量范围℃ | 保护管材料 | 规格 | 热响应时间T0.5S | |
总长Lmm | 置深lmm | ||||||
单支铂热电阻 | WZP-269 | Pt100 | -200~300 | 不锈钢 1Cr18Ni9Ti | 160 185 235 285 335 | 75 100 150 200 250 | <30 |
双支铂热电阻 | WZP2-269 | <45 | |||||
铜热电阻 | WZC-269 | Cu50 | -50~100 | 不锈钢 1Cr18Ni9Ti | <120 | ||
铂热电阻 | WZP-270 | Pt100 | -200~420 | 不锈钢 1Cr18Ni9Ti | 95 105 130 155 205 | 40 50 75 100 150 | <15 |
铜热电阻 | WZC-270 | Cu50 | -50~150 | <45 | |||
铂热电阻 | WZP-280 | Pt100 | -200~300 | 不锈钢 1Cr18Ni9Ti | 175 200 250 300 350 | 75 100 150 200 250 | <30 |
